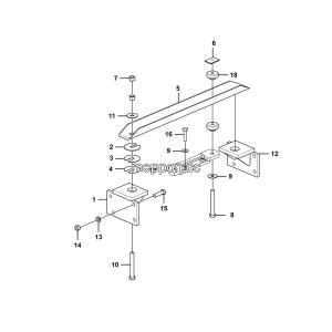
LGMG CMT96A 2025 – RR suspension limit block assy – G1201-2712018130.S1A
Category: 2025 > CMT96A > C096AY3E0A006
Parts List:
| No. | Part Name | Part Number | Qty |
|---|---|---|---|
| 1 | Leaf spring limiting block | 4110706916 | 1 |
| 2 | Bolt GB5783-M10*35EpZn-8.8 | 4011000085 | 4 |
| 3 | Washer GB97.1-10EpZn-300HV | 4015000162 | 4 |
| 4 | Nut GB6185.1-M10EpZn-8 | 4013010119 | 4 |












