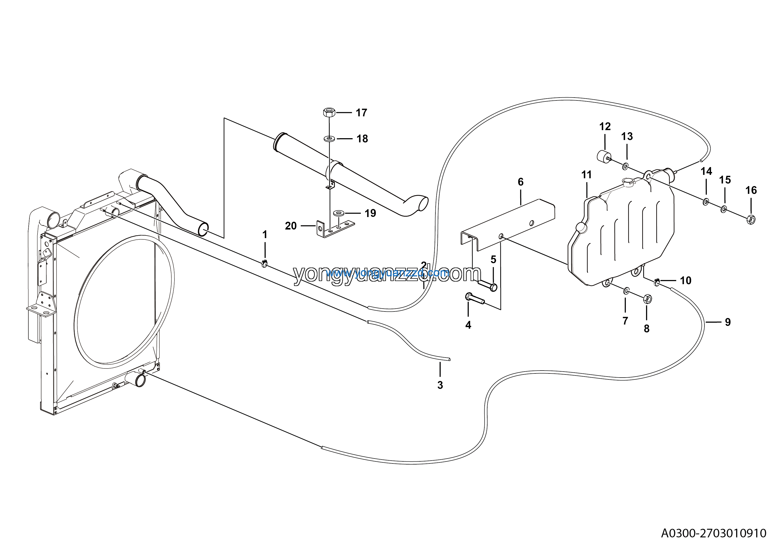
LGMG MT95 Mine Truck – Expansion water tank assy – A0300-2703010910

Category:

LGMG MT95 Mine Truck – Expansion water tank assy – A0300-2703010910

Category: Mine Truck > MT95 > M0950WA10

Parts List:

No. Part Name Part Number Qty
1 Hose clamp JB8870-D32 4017000011 2
2 Expansion water tank 4190000607 1
3 Rubber shock block 4110000211 1
4 washer 27030102011 1
5 Washer GB93-8-65Mn 4015000036 5
6 Washer GB97.1-8EpZn-300HV 4015000072 5
7 Nut GB6170-M8EpZn-8 4013000033 4
8 Nut GB6170-M6EpZn-8 4013000028 3
9 Washer GB97.1-6EpZn-300HV 4015000207 3
10 Washer GB93-6-65Mn 4015000035 3
11 No longer used 4190000343 4
12 Bracket 1 27100103561 4
13 Air pipe 27030102021 1
14 Vent pipe 27030107341 1
15 Bolt GB5783-M12*30EpZn-8.8 4011000089 2
16 Bolt GB5783-M8*25EpZn-8.8 4011000106 4
17 E*PANSION TANK BRACKET 27030102221 1
18 Washer GB96.1-12EpZn-300HV 4015000186 2
19 Nut GB6185.1-M12EpZn-8 4013010120 2
20 Water supply tube of water tank 27030102031 1