LGMG Off-Highway Dump Truck 2022 – Tail signal module – K2700-2720011210
Category: 2022 > Off-Highway Dump Truck > MTE86H > M086HE0A2A101
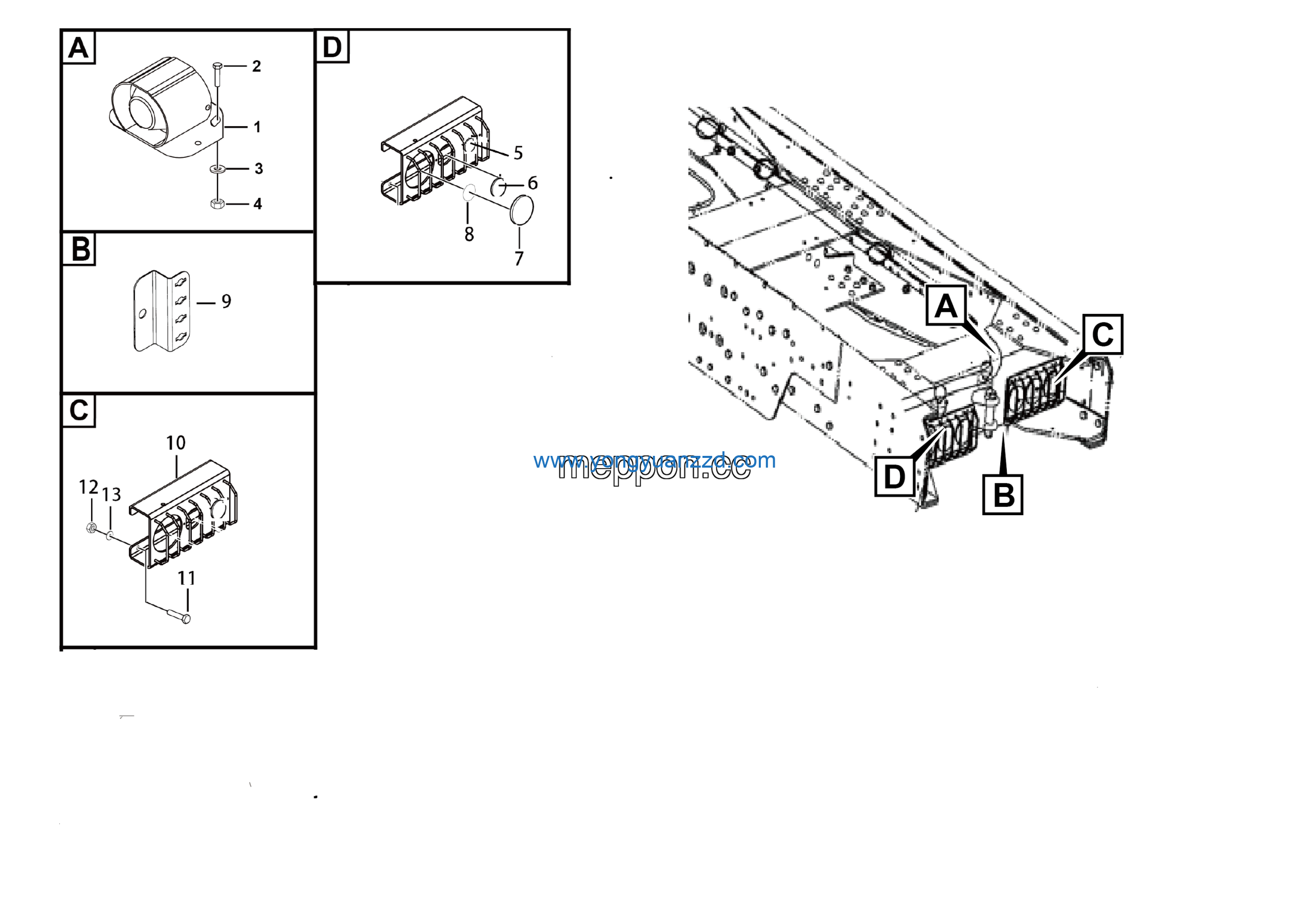
Parts List:
| No. | Part Name | Part Number | Qty |
|---|---|---|---|
| 1 | Tail light guard | 27200111471 | 2 |
| 2 | Bolt GB5783-M10*35EpZn-8.8 | 4011000085 | 8 |
| 3 | Nut GB6170-M10EpZn-8 | 4013000007 | 8 |
| 4 | Washer GB97.1-10EpZn-300HV | 4015000162 | 8 |
| 5 | Reverse buzzer DDB101-LG | 4130000294 | 1 |
| 6 | Bolt GB5783-M8*35EpZn-8.8 | 4011000195 | 2 |
| 7 | Washer GB97.1-8EpZn-300HV | 4015000072 | 2 |
| 8 | Nut GB6170-M8EpZn-8 | 4013000033 | 2 |
| 9 | Direction-indicator lamp HY-088Y-5LED | 4130000908 | 2 |
| 10 | Brake & position light HY-088Y-5-1LED | 4130000909 | 2 |
| 11 | LED Floodlamp SM6272 | 4130000610 | 2 |
| 12 | Rubber insert | 27200104361 | 2 |
| 13 | Ket frame | 27200106741 | 2 |












